Остекление балконов серии п 44
Наша компания "Балконстрой" в Москве оказывает полный спектр услуг по остеклению балконов в домах серии П 44. Холодное - алюминиевой, деревянной рамой и теплое - пластиковыми, деревянными евроокнами, готовы предложить балкон под ключ с отделкой и утеплением со скидкой.
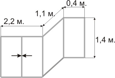
Балконы квартир домов серии П 44 имеют изломанную линию фасада. Их обычно называют «сапог» или «утюг» из-за похожих силуэтов. Чтобы остеклить такой балкон часто применяют раздвижную систему PROVEDAL C640 в сочетаний с распашной P400.
Цены на остекление под ключ
Спешите воспользоваться текущей скидкой месяца!
Остекление пластиковыми рамами


Размер балконной рамы (сапог): Д 2400х1000х400 В 1550мм
Цена из профиля REHAU: 54220 49 800 руб.
Цена из профиля KBE: 53100 48 100 руб.
Остекления алюминиевой раздвижной системой
| В стоимость работ входит установка, козырька, отлива. Остекление алюминиевой раздвижной системой цена |
|

Размеры балкона (лодка) 1700х1900х1500 цена от 22 000 руб.
Как устанавливается остекление?
На балконах в домах П 44 устанавливаются 2 алюминиевые или пластиковые рамы. Парапет может быть каркасным из бетона или металла. Если применяется металлический парапет, то необходима установка стального фартука. Он закрывает пространство между листом фасадного отделочного материала и поручнем. На плите из бетона устанавливается металлический козырек. Каркас рамы крепится на анкерные болты к стене перегородок. После чего монтируют отлив. Затем происходит установка двустворчатой раздвижной системы остекления. Это происходит следующим образом:
- В направляющем профиле фиксируется верхний паз створки
- Укомплектованный роликами нижний паз устанавливается на свое место
- Этим же образом монтируются оставшиеся створки
- С помощью герметика в местах стыков с парапетом и плитой верхнего балкона устраняются щели
- Крепится фурнитура (ручки, замки)
- Регулируют плавности хода створок по направляющим из алюминиевого профиля:
- настраивают ограничители перемещения створок вверх и вниз.
- выбирают оптимальное положение, обеспечивающее минимальный люфт и свободный ход.
Алюминиевое остекление в домах П44 применяют, когда нет необходимости в серьезной теплоизоляции, она обеспечивает защиту от снега, ветра, дождя и пыли. Благодаря меньшему сечению профили из алюминия занимают меньшую площадь и обеспечивают большую освещенность. Вся конструкция получается легкой и прочной.
Остекление деревянными рамами
Остекление балкона деревянными рамами - это популярный, недорогой, но не надежный способ из-за гниения древесины. Поэтому через 10 лет начнется порча и старение. При использовании не промышленных оконных блоков чаще всего применяется некачественная древесина (не обструганная, не просушенная), следствием чего выступают щели, проседание створок, механизм открытия и закрытия получается грубым.
Остекление заводскими деревянными рамами лучше сохраняют тепло. Но тут играет важную роль подгонка рам и коробки, следует избегать щелей.
Стоимость остекления балкона П 44 деревянной рамой при его размере в 6 кв.м.
| С козырьком, отливом, монтажом. Остекление деревянной рамой цена |
|
Цены на отделку балкона серий П-44
| Материал | Ед. изм. | Цена |
|---|---|---|
| Отделка панелями МДФ каталог pdf |
м.кв. | 1400 руб. |
| Отделка панелями ПВХ каталог pdf |
м.кв. | 1250 руб. |
| Отделка деревянной евровагонкой класса А | м.кв. | 1250 руб. |
| Отделка пластиковой вагонкой | м.кв. | 900 руб. |
| Отделка cайдингом металлическим | м.кв. | 2000 руб. |
| Отделка cайдингом цокольным | м.кв. | 2500 руб. |
| Отделка cайдингом виниловым цвета |
м.кв. | 1400 руб. |
Цены на утепление балкона серии п-44
| Утепление пергаментом | м. кв. | 50 руб. |
| Утепление эктрудированным пенополистеролом | 50 мм | 750 руб. |
| Утепление изолоном | м. кв. | 300 руб. |
| Утепление пенопластом | м. кв. | 300 руб. |
| Утепление минватой | м. кв. | 250 руб. |

